在线市场调查问卷的设计是管理与艺术的结合。科学的问卷不仅要求设置的项目能够满足调查和收集信息的要求,而且要求设计的问卷有利于数据的收集和整理,并且易于计算。结果的统计分析。写出一份准确生动的专业调查报告,远比用笼统的数字和简单的文字、图表、公式来说明要好得多。因此,网络市场调查问卷的设计和调查报告的撰写,对于网络市场调查的成败具有重要的意义。网络市场调查问卷的设计
网络市场调查问卷需要网络技术人员和专业调查人员的密切配合。网络市场调查问卷一般是根据网络营销的特点设计的。专业的网络市场调查问卷设计是网络市场调查结果可靠的基础。(一)网络市场调查问卷的设计原则
市场调查问卷是否成功,可以从两个方面来衡量:一是问卷能否将调查的问题清晰地传达给受访者;二是受访者是否愿意配合,这决定了受访者能否真实准确地回答问卷问题。在实际的市场调查问卷设计中,受访者综合素质、调查问卷设计者的专业知识和技术水平的差异都会影响调查结果的准确性。因此,问卷的设计应遵循一定的原则:
一、宗旨原则
目的性原则是指问卷所提问题应与调查主题和目的紧密相关,突出重点。明确市场调研的目的和内容,既是问卷设计的前提,也是问卷设计的基础。
2.可接受性原则
可接受性原则是指被调查者有自己的自由是否回答和回答哪一项。因此,问卷的设计应易于被调查者接受。无论是在西方国家还是东方国家,受访者普遍不愿意或拒绝回答涉及个人隐私的问题,例如个人收入。因此,调查问题中不应出现涉及个人隐私的问题,以免引起被调查者的反感。
3.简单原则
首先,询问的内容要简明扼要,让被调查者容易阅读理解,回复内容要简短省时。因此,问卷的设计应多采用二项式选择法、序列法、对比法等方法,问卷中问题的答案选项应为访谈者提供相应的信息,以方便受访者作答。其次,在语言和用词上要有相应的调整。调查问题的描述应简明、准确、通俗易懂,不能模棱两可、模棱两可或不专业,否则会使被调查者难以做出最合适的选择,不仅影响调查结果的可信度调查结果,甚至可能使参与如果受访者没有完成所有选项,调查将被终止。例如,在家庭主妇的调查中,语言的使用要尽可能普及;对于高学历的都市白领来说,选题和语言难度都可以得到一定程度的改善。
4、搭配原则
问卷设计应根据调查目的,充分考虑后续的统计分析工作。对于市场调查问卷的主观题,在规范文本的同时要有较强的概括性;对于问卷的数据问题,设计时一定要记录下来。方便人们,数据口径一致,数据统计分析操作简单。在对调查结果进行统计处理时,经常会发现一些调查数据没有太大的实际价值,或者与调查报告所需的信息不一致。浪费也会影响调查报告的价值。因此,访谈者回答的问题要便于检查、处理、统计和分析,以提高市场调研工作的效率。
五、题目数量的合理性原则
问卷问题的形式和内容固然重要,但问题的数量也是保证问卷调查成功的关键因素。受访者普遍不愿意接受复杂冗长的问卷,容易产生厌烦情绪。因此,问题的数量应尽可能减少,以达到调查的目的。
6. 逻辑规范原则
企业在设计问题时,也要注意语言应用的规范性和问题的逻辑性,尽量避免假设性问题,以确保调查的真实性。(二)网络市场调查问卷的设计步骤
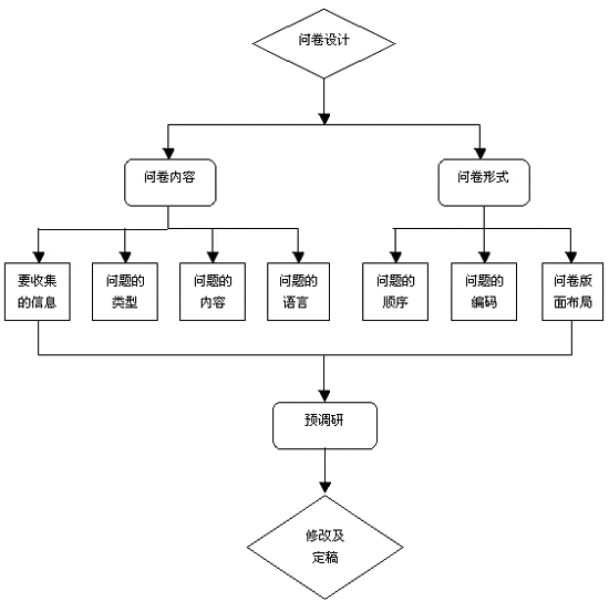
网上市场调查问卷的设计主要分为以下五个步骤:
一、明确问卷设计的主题
调查者明确调查目的后,应明确问卷设计的主题。主题要尽量小,不要笼统。调研后要解决实际问题,定位要准确,内容要细化。
2.设计问卷初稿
根据调查对象的特点,调查人员根据主题要求确定问卷形式后,列出调查项目,编写问题命题和填写说明,设计问卷初稿。问卷初稿一般包括四个部分:第一是被调查者的基本情况,如被调查者的年龄、性别、受教育程度、职业、住址、家庭月收入等;第二是被调查者的基本情况。二是调查内容本身,即调查的具体主题是问卷的核心部分;三是问卷说明,主要说明受访者需要注意的事项、填表要求和目的等;四是编号,便于分类归档和汇总统计。
3.小样本测试调查
调查者将问卷初稿发给少数符合调查要求的人群,以检验问卷的信度和效度。实验测试时,受试人数要合理,一般为30-50人。参加测试调查者需满足被调查者要求
,并且最好是在被测试者不知情的情况下进行,这样得出的实验信度与效度才具有一定的意义与参考价值。4.设计正式问卷
调查人员根据小样本试调查的结果,分析和整理其中发现的问题,对问卷初稿进行一定的修改和补充之后,设计出正式的调查间卷。在这一过程中,相关人员需要严格把关、集体决策,通过共同讨论的方式来完善间卷。如有必要,可再次进行小样本试调查以完善问卷。
5.对正式问卷再次核实
这是设计问卷调查的最后一个步骤,一般要求调查人员对问卷设计中所提出的问题、实现调查目的的可行性和必要性进行论证,核实问卷题目是否简明、准确,是否有趣味,是否符合调查对象的综合素质水平,等等。
(三)网络市场调查问卷设计应注愈的问题
通过对许多在线调查问卷的分析可以发现,许多问卷都存在一些明显的错误,严重影响调查问卷的回收率及调查数据的可信性与可行性,使网络市场调查达不到理想的效果。
设计网络市场调查问卷时,应注意避免发生以下几个问题:
1.问题顺序安排不合理
合理的提问顺序可以有效提高问卷回收率,提高调查结.果的真实性和可靠性。科学的排序应该合乎问题之间的逻辑,前后连贯。在进行问题顺序安排时可参考以下几点原则。一是调查的基本信息应安排在最前面,分类信息居中,鉴别性信息放在最后。二是先易后难,容易、直观、清楚的问题置前,困难、复杂、敏感和窘迫的问题置后。随着调查的进行,调查人员与被调查者交流的深人,被调查者可能降低或消除原有的戒备心理,愿意回答一些复杂、敏感的问题,从而使调查获得尽可能多的信息。三是总括性问题应先于特定性问题。
2.不连循网上行为规范和文化准则
网络市场调查不能用轰炸式的邮件调查方式,因为不经受众允许就发给调查表是一种侵犯隐私权的行为。网络是一种非正式场合,间卷应轻松诙谐一些,以提高调查的趣味性。
此外,在网络调查问卷中也可以大胆地借用网络强大的表现力,利用多媒体技术设计出声形兼备、别具风采的问卷来。例如,在对手机款式的偏好调查中,可以插人或链接图像、声音文件,使被调查者能在调查活动中看见手机外形、倾听手机铃声、知晓手机功能等。
3.问题具有诱导性
有些调查问卷将设计者的个人观点融人其中,使用了带有感情色彩和倾向性的词语,这些富有感情色彩的词语会对被调查者起到诱导、暗示作用,有可能使被调查者放弃自己的本来观点。因此,合格的问卷应该是中立的、客观的,问卷中不应带有某种诱导性问题。
4.用词不准,语义模糊、有歧义
问卷中的每个问题对于每个被调查者而言,都应该代表同一主题,只有一种解释。用词不准、间题含糊都会使问题的含义不清楚、不明确或有歧义,这样会让被调查者有无所适从的感觉,影响市场调查结果的准确性。对于一些易于产生语义模糊、歧义的概念抽象间题,应先通过操作化过程,将所研究的概念或变量变为具体可测的指标,避免一些被调查者难以理解此类问题,影响间卷回答的质量。因此,问卷设计中一定要讲求用词规范、语义明确,使被调查者能正确理解问题。
5.答案设计不合理
在间卷的设计中经常会出现答案不穷尽,不互斥,或不处于同一层次、同一维度的情况,这样也会影响调查结果的准确性。问题设计时应尽可能考虑周全,不能遗漏重要的问题选项,尤其对于专业性较强、对调查结果影响程度较大的调查间题选项,更要仔细斟酌,任何一项重要信息的遗漏都可能降低调查结果的效度。
我们专注高端建站,小程序开发、软件系统定制开发、BUG修复、物联网开发、各类API接口对接开发等。十余年开发经验,每一个项目承诺做到满意为止,多一次对比,一定让您多一份收获!








































更新时间:2025-09-10 14:37:08
网站建设
402